项目管理系统应用案例

2022-10-21 17:20:00
admin
原创
2369

        济南热电项目管理系统应用案例

一、用户背景

   济南热电集团有限公司始建于1983年,是济南能源集团有限公司的全资子公司,集供热生产、热源投资运营、节能环保、技术研发应用于一体。公司总资产90亿元,下辖18个分(子)公司、17个部室,现有从业人员2214名。拥有5个热电厂、9个热源厂、15座锅炉房,共计29处热源点。供热能力8422吨/时,是济南市首家热电联产供热企业。济南热电集团主要担负济南市主城区居民用热的生产供应任务,是目前国内热源规模、供热面积位居前列的热源企业,生产、技术、管理力量雄厚。积极推进热源数字化和信息化运维管理,建立热源自控系统,按需调整,做到“源网”联调的智慧化运行。

 

 

二、 系统使用

(1)平台使用人员

•  集团领导及业务部室

• 集团分子公司

• 项目部

• 参建单位:施工、监理、造价、招标代理、设计单位

2)系统使用情况

项目管理平台上线6个月,集团公司业务部门及各分公司开始进行线上管控项目,各方参建单位线上进行各项工作的申请、汇报。

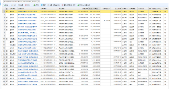
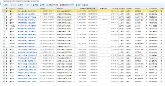
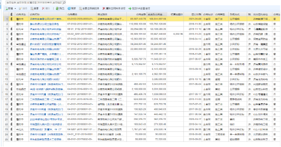
目前系统中进行线上管控的项目共计1238个,维护合同数量共计2938个,各方参建单位共计507个。

3)主要功能模块

 

4)对接情况

三、 效果图

1)首页

2)审批单


(3)台账统计